Державне підприємство «Антонов» стало переможцем Всеармійського конкурсу «Кращий винахід року», що проводився за наказом Міністерства оборони України на базі Центрального науково-дослідного інституту озброєння та військової техніки Збройних Сил України.
Про це пишуть Крила.
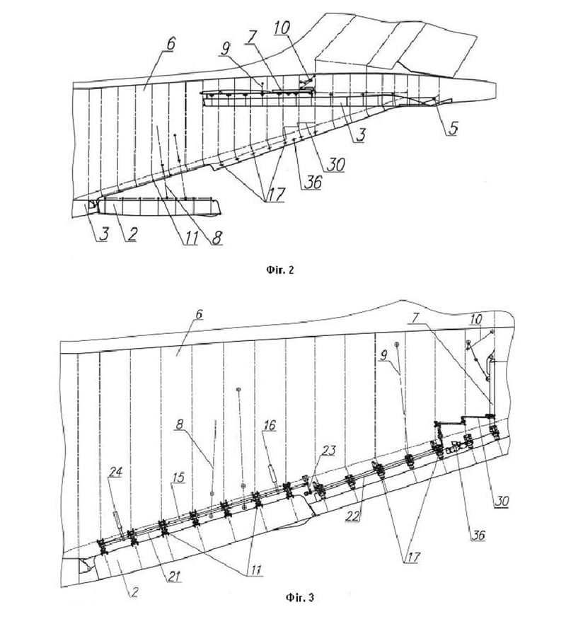
Зазначається, що «Антонов» отримав диплом I ступеня в номінації «Авіаційна техніка й озброєння», представивши патент України №114426 «Вантажний люк літального апарату», реалізований на транспортному літаку Ан-178.
Читайте також: «Не для нього, а для себе» — як у fem.bra створюють феміністичну білизну
Автори винаходу: заступник генерального директора (з проектування) Двейрін А.З., головний конструктор по планеру Костюк В.А., заступник головного конструктора Балун А.В., провідний інженер-конструктор Рабичев А.І.

Ан-178 створювався на заміну транспортному літаку Ан-12. На відміну від нього, Ан-178 має герметичну вантажну кабіну, що необхідно було врахувати, зокрема, при проектуванні вантажного люка. До того ж, для підвищення рівня безпеки польотів і розширення умов експлуатації літака, а також для забезпечення відповідності сучасним сертифікаційним нормам, у конструкцію вантажного люка Ан-178 введена унікальна система, що повністю виключає можливість неконтрольованого відкриття вантажний рампи, забезпечує її фіксацію в необхідному положенні і потрібну сигналізацію. Вона була встановлена на Ан-178, пройшла початковий етап випробувань на землі, а також в польоті з відкриттям вантажного люка на різних швидкостях, підтвердивши свої розрахункові характеристики.
Читайте також: В Обертині селяни об’єднались у кооператив і заробляють на сухофруктах. Як їм це вдалось?
Нагадаємо, міноборони уклало контракт на будівництво Ан-178.
Як ми повідомляли раніше, український Ан-124 перевіз два літаки до Баварії.
Усі фото: wing.com.ua.